1、蚕網織機[1]の出品
明治23年に第3回内国勧業博覧会が東京上野で開催された。49歳の臥雲辰致の発明に対する意欲はますます盛んで、「測量機械」、「綿絲紡績機械」、「機杼器械」[2]、「蚕網織器械」の四点を出品し、そのうち「蠶網織機械」(蠶は蚕の旧字)に対して3等有功賞が贈られた。
辰致が早くから水車を動力とした機械織機を発明しているが、不思議なことに研究者の間ではあまり注目されていない。信飛新聞の明治9年2月29日の記事に、波多村の水車小屋でガラ紡機と共に機械織機も稼働実験の準備をしているという記述がある。この機械織機は松本開産社に運ばれて稼働するのであるが、残念ながらその機械がどのようなものであったのか、またどの程度稼働したかの記録は残っていない。しかしながら辰致が機械織機に関する十分な知識を持っていたことは間違いなく、この「蚕網織器械」もその知識を使って作ったものであろう。
明治10年の第一回内国勧業博覧会以後、ガラ紡機の模倣機が氾濫して、臥雲辰致は貧窮に陥ったというのが辰致に対する一致した歴史観であるが、明治22年の特許取得といい、この勧業博覧会への出品といい、相当な資金が必要であったことは確かであろう。それらの資金がすべて辰致個人のものであったのかは不明なれども、辰致が貧窮していたという話とは著しく異なる。
辰致が早くから水車を動力とした機械織機を発明しているが、不思議なことに研究者の間ではあまり注目されていない。信飛新聞の明治9年2月29日の記事に、波多村の水車小屋でガラ紡機と共に機械織機も稼働実験の準備をしているという記述がある。この機械織機は松本開産社に運ばれて稼働するのであるが、残念ながらその機械がどのようなものであったのか、またどの程度稼働したかの記録は残っていない。しかしながら辰致が機械織機に関する十分な知識を持っていたことは間違いなく、この「蚕網織器械」もその知識を使って作ったものであろう。
明治10年の第一回内国勧業博覧会以後、ガラ紡機の模倣機が氾濫して、臥雲辰致は貧窮に陥ったというのが辰致に対する一致した歴史観であるが、明治22年の特許取得といい、この勧業博覧会への出品といい、相当な資金が必要であったことは確かであろう。それらの資金がすべて辰致個人のものであったのかは不明なれども、辰致が貧窮していたという話とは著しく異なる。
2、蚕網とは
蚕網

(『養蚕秘録』より 享和3年 上垣守国 著)
蚕網とは養蚕の時に使用される網で、蚕の大きさにより、網の目の大きさが異なったものが使用される。蚕というのは不思議な昆虫で家畜化され、人の助けなしで生きていくことは出来ない。人は絹糸を取るために蚕を飼育するが、蚕の主食である桑の葉を必要に応じて与え、蚕の排泄物を排除して常に清潔な環境で蚕を育てる必要がある。蚕網使用の目的は、蚕の排泄物を清掃し、新鮮さに欠ける桑葉を排除して、蚕が食べないようにすることにある。蚕網の使用法は、蚕篭上の蚕が、桑の葉をほぼ食べた時期を見計らい、その上に蚕網をかけて更にこの網の上に新鮮な桑の葉を置く、蚕はその習性上、新しい桑の葉を食べようと、網の目をかいくぐって上に移動し、新しい桑の葉を食べ始めるので、その時、網の両端をそっと持ち上げて、そのまま他の蚕篭へ移動させると、蚕が食べ残した古い桑の葉や蚕の糞が残り、常に新しい清潔な環境で蚕の飼育が可能となる。更に大量の蚕を飼育する場合、それぞれの蚕が眠りに入る時期は異なってくるため、蚕網を蚕篭の上に被せてその上に桑の葉を置けば、未だ休眠していない蚕は網の目を潜って網上に這い上がり、そこに置かれた桑の葉を十分に食べることが可能になる。その一方で、既に休眠に入った蚕は動き回る蚕と接触することのない状態に置かれる利点に加え、入眠時期毎のグループ分けが可能になるという説もある。
蚕網は、明治以降になって広く東北地方から九州にかけ全国的に用いられるようになったが、その一大産地が松本だったことはあまり知られていない。松本で製造される蚕網は別名「松本網」とも呼ばれ、松本が代表的産地だっただけでなく、松本にとっても重要な製造業となっていた。
蚕網は、明治以降になって広く東北地方から九州にかけ全国的に用いられるようになったが、その一大産地が松本だったことはあまり知られていない。松本で製造される蚕網は別名「松本網」とも呼ばれ、松本が代表的産地だっただけでなく、松本にとっても重要な製造業となっていた。
3、辰致発明以前の蚕網織機
高機(たかはた)構造図

図20-01
明治時代に、人力によらない力織機や自動織機が登場するまで、普通の綿織物を折る為の「高機(たかはた)」と呼ばれる織機が普及していた。高機の主要部の構造を図20-01に示すが、縦糸(経糸)を強く張り、綜絖(そうこう)と呼ばれる穴の開いた器具で、縦糸を交互に上げ下げし、その出来た隙間に杼(ひ)と呼ばれる糸巻を通して横糸を張る構造である。綜絖は織る布の種類により異なるが、一般的な綿布の織り方は平織と言って、綜絖を二つ持つ織機を使い、その綜絖に一つ置きに経糸が同一の綜絖に取り付けられて、二つの綜絖が交互に引き上げられ、そのたびに出来る杼口と呼ばれる糸の隙間に杼を投入して、緯糸を編みこむ方法をとる。
臥雲辰致が新しい織機を発明するまでは、蚕網もこの高機を使って織られていたが、高機による蚕網は綿布と同じように、経糸と緯糸が交互に上下しているだけで(平織と呼ばれる)、網目が容易にずれてしまう。その為、平織の蚕網には網の目が動かないように糊付けがされていた。しかし糊付けをした程度では、網の目をしっかりと固定することは出来ず、蚕網としての使い勝手はかんばしいものではなかった。辰致は高機に改良を加えて蚕網織機を開発した。前述した明治二十三年の第三回内国勧業博覧会に出品したものがそれである。以下にその構造を説明する。
臥雲辰致が新しい織機を発明するまでは、蚕網もこの高機を使って織られていたが、高機による蚕網は綿布と同じように、経糸と緯糸が交互に上下しているだけで(平織と呼ばれる)、網目が容易にずれてしまう。その為、平織の蚕網には網の目が動かないように糊付けがされていた。しかし糊付けをした程度では、網の目をしっかりと固定することは出来ず、蚕網としての使い勝手はかんばしいものではなかった。辰致は高機に改良を加えて蚕網織機を開発した。前述した明治二十三年の第三回内国勧業博覧会に出品したものがそれである。以下にその構造を説明する。
4、蚕網織機の特徴
平織、紗、絽

図20-02
織物にも網目状の織物が存在し、その代表が”紗”という織物である。紗は織り目がきわめて粗く、軽くて薄い為、夏羽織・蚊帳(かや)などに使用するものである。また、”絽”という”紗”よりもさらに複雑な織物も存在する。これらの織物は、高機を使用した”平織”のような単純な織物ではなく、経糸に緯糸を絡める方法で、折り目が容易に動かない構造を持っている。
辰致が発明した織機は「搦み織物」の中でも比較的簡単な、「紗」を織ることが出来る織機であった。辰致の発明した綟織機が、明治二十年ころ存在した紗を編むことが出来る、「搦み織機」とどのように異なるか、当時の資料を基に解析してみる。
辰致が発明した織機は「搦み織物」の中でも比較的簡単な、「紗」を織ることが出来る織機であった。辰致の発明した綟織機が、明治二十年ころ存在した紗を編むことが出来る、「搦み織機」とどのように異なるか、当時の資料を基に解析してみる。
紗の組織説明図

図20-03
図20-03は紗の組織図を示している。左側と右側は同一のものであるが、わざと一本の経糸を真っ直ぐに伸ばした状態で書いてある。この図で明らかなように、紗の織り方は二本の経糸を持ち、一本は常に緯糸(横糸)の上にあって直角に交わり、他の一本は、その経糸を左右とまたぐ様に回り込んで緯糸の下に入り込むように織られている。
「織物組織篇」より

図20-04
明治三十年発行の「織物組織篇」吉田亀壽著によると、当時はこの紗を織る為に、図20-04に示す2枚の綜絖のほかに「振機(ふるえ)」と呼ばれる、さきが折れる仕組みの綜絖を使用する。まず、常に緯糸の上に有る経糸をaとしその糸の左右の振れる経糸をbとすると、振機の先はbに繋がっている。この時、aと振機の綜絖を上げると振機は折れて、bの経糸はaの経糸の向こう側に移り杼口が開くので、この時緯糸を通す。次にaを下げ、bを上げると振機が伸び杼口が開くので緯糸を通す。この繰り返しで、「紗」を織ることが出来る。さらにこの機械は、振機を下げて、abを上げることにより「絽」を編むこともできる。
辰致の発明した機械は、「紗」のみ織ることが出来る、いわゆる「紗」専用織機である。辰致は「紗」を織るとき、二本の経糸のうち一本は左右に動かないことに注目し、図20-04のように経糸に沿ってコの字の針金を植え込み、その針金に動かない方の経糸を絡めた。
図20-05 Aは一見絡めた部分が糸が引かれる方向に流れてしまうように思えるが、Aと
Bは同じで、絡めた部分は針金のコの字の部分から抜けない。すなわちCの枠に
絡みついた糸を左に引っ張ると、絡みついた形状は殆ど変らずに、糸だけがするすると左に抜ける。
辰致の発明した機械は、「紗」のみ織ることが出来る、いわゆる「紗」専用織機である。辰致は「紗」を織るとき、二本の経糸のうち一本は左右に動かないことに注目し、図20-04のように経糸に沿ってコの字の針金を植え込み、その針金に動かない方の経糸を絡めた。
図20-05 Aは一見絡めた部分が糸が引かれる方向に流れてしまうように思えるが、Aと
Bは同じで、絡めた部分は針金のコの字の部分から抜けない。すなわちCの枠に
絡みついた糸を左に引っ張ると、絡みついた形状は殆ど変らずに、糸だけがするすると左に抜ける。

図20-05
辰致はこの原理を利用して、もう一本の経糸を通した綜絖を枠の針金にかけ、左右に引っ張ることが出来るようにしたのである。こうすると、左右の綜絖の糸を引くだけで、絡める経糸が、針金を超えて右に左にと移動し、杼口が開き緯糸が投入され「紗」が織られることになる。
臥雲式”紗”織機の構造

図20-06
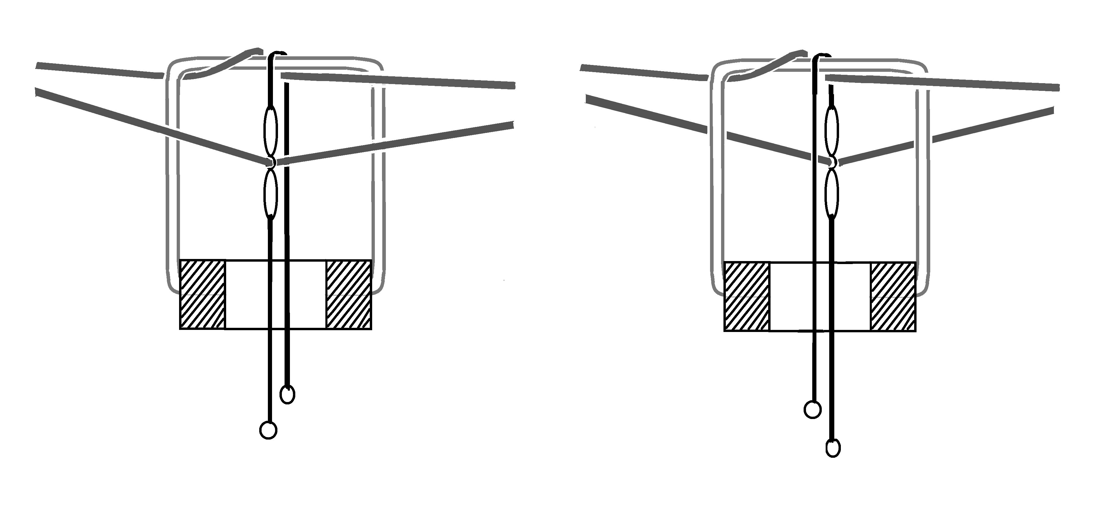
5、特許取得の蚕網織機
特許取得の「綟織機」


(北野進 「臥雲辰致とガラ紡機」より 筆者改変あり)
特許取得の「蚕網織機」の構造図を見ると、中央に既に説明した、針金を用いた”搦め織”の綜絖があり、飛び杼が行き交う木製の溝が見える。糸の綜絖で杼口を開き、杼を打ち込むのであろう。網の目の横の大きさは、この針金のブロックの間隔を変えることにより可能となる。縦の目の大きさは、「第五図」にあるように、ラチェット形式の円盤があり、このラチェットの間隔で糸が送られ、縦の目の大きさが決まる。縦の目の大きさを変えるには、別の送り幅を持つラチェット盤に替えるのであろう。
6、驚くべき構造
19世紀前半の日本の機織りの様子(柳川重信の浮世絵)

(柳川重信の浮世絵 Wikipediaより)
以上のように説明すると、辰致発明の「蚕網織機」は簡単な発明のように感じられるかもしれない。しかし、織機が発明されたのはいつなのか定かではないが、少なくてもこのような簡単な方法で”搦め織”が出来る機械は辰致以外は誰も発明していない。
「紗」という織物を調べると西洋では「Gaze(ガーゼ)」という名前になっている、医療用のガーゼは「紗」なのである。すなわち紗の織物の用途は多岐にわたる。しかし西洋の織機を調べてもこのような奇抜な織り方は無い。まさに驚くべき臥雲辰致の発明力である。
「紗」という織物を調べると西洋では「Gaze(ガーゼ)」という名前になっている、医療用のガーゼは「紗」なのである。すなわち紗の織物の用途は多岐にわたる。しかし西洋の織機を調べてもこのような奇抜な織り方は無い。まさに驚くべき臥雲辰致の発明力である。
ーーーーーーーーーーー
[1]この機械は、網の用途による分類の名前「蚕網織機」、網の構造による分類の名前「綟織機」と呼ばれる。第3回内国勧業博覧会では”蚕”の旧字”蠶”の字を用いた「蠶網織機械」という名で出品されている。ここでは「蚕網織機」という名称を使用する。
[2]”機杼”の正式な呼び方は不明であるが”きよ”、”きちょ”、”きひ”と読むのだろう。この場合、”機”は布を織るための装置で”杼”は”飛び杼”の”杼”であろう。西洋からもたらされた「飛び杼」は日本では”ばったん”と呼ばれ、左右の紐を交互に引くことにより、糸を巻いた杼を素早く動かす構造であるが、「機杼器械」はそれを自動で操作する織機であろうか。豊田佐吉がこの飛び杼を備えた、「豊田式木製人力織機」を開発したのも明治23年である。臥雲辰致が発明した「蠶網織機械」の図面が残っているが、それには飛び杼の機構が備わっている。